|
|
Вбудовувані RISC комп'ютери
МОХА
Серія UC-7110/7112 Знято з виробництва
Компактний RISC базований з 2 Ethernet і RS-232/422/485 портами, SD
 |
Компактний RISC базований комп'ютер - ARM9 RISC процесор |
 |
|
Застосування

- Енергетика
- SCADA системи
- Автоматизациі
будинків і т.п.
- Автоматизація
в медицині
- Автоматизація
на транспорті.
Розширений Web сервер для Web додатків
UC-711х
має попередньо інстальований boa web сервер, що дозволяє просто встановлювати ваші власні web додатки. Ви просто редагуєте власні web додатки з використанням популярних web засобів і завантажуєте їх в UC-711х, отримуючи всі переваги перегляду програми через популярні web браузери.

Розміри



 |
Відкрита Linux архітектура для простої розробки додатків
Попередньо встановлена операційна система Linux забезпечує відкрите програмне середовище розробки додатків. Це означає, що програмне забезпечення, розроблене і збережене в настільному комп'ютері (PC), тепер може бути легко перенесене на платформу UC-711х, використовуючи крос-компілятор (GNU GCC) без модифікації програмних кодів.
|
|

|
Як розробити додатки
для UC-711х :
Крок 1: Встановити оточення розробки
• Встановити Linux на ваш PC (Redhat 7.2 або старше рекомендується)
• Встановити технологічні засоби для UC на ваш PC (крос-компілятор,
GlibC, GDB), включені в
поставочний CD-ROM
• ЗКонфігурувати IP, Netmask і т.п.
Крок
2:
Кодування та налагодження
• Розробіть на мові C або C++ програми користувача на вашому PC
• Скомпілюйте C програму і необхідні бібліотеки зі складу
Moxa UC
tool chain.
Крок
3:
Розгортання
• Завантажте готову і налагоджену програму через FTP в UC-711х
• UC-711х з необхідними вашими програмами готовий до використання.
|
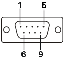
Контакти
роз'єму:
|
DB9
Male

|
|
Pin
|
RS-232
|
RS-422
|
RS-485(4W)
|
RS-485(2W)
|
|
1
|
DCD
|
TxDA(-)
|
TxDA(-)
|
|
|
2
|
RxD
|
TxDB(+)
|
TxDB(+)
|
|
|
3
|
TxD
|
RxDB(+)
|
RxDB(+)
|
DataB(+)
|
|
4
|
DTR
|
RxDA(-)
|
RxDA(-)
|
DataA(-)
|
|
5
|
GND
|
GND
|
GND
|
GND
|
|
6
|
DSR
|
|
|
|
|
7
|
RTS
|
|
|
|
|
8
|
CTS
|
|
|
|
|
Консольний
кабель:

|